Porsche Panamera Cabriolet: meer kleine details
Er zijn nog wat meer kleine details gelekt van de veel besproken Porsche Panamera Cabriolet!
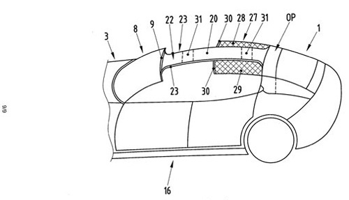
“Retaining a four-door layout allows the convertible to offer the same interior space as the saloon, although the boot is likely to be compromised by the need to accommodate the roof. The design of car’s rear end suggests the roof will be a fabric hood.
The Panamera’s windscreen has been altered with greater rake and, as seen on one of the patent drawings from Porsche in-house designer, Grant Larson, it also gains additional supports within the small quarter windows low down on the A-pillar.“



Je moet ingelogd zijn Ingelogd om een reactie te plaatsen.